Not Found


HTTP Error 404. The requested resource is not found.

Vỏ lọc khí vô trùng
02862702191
Tấm xơ dừa lọc khí phòng sơn thay cho bông thủy tinh

Vỏ lọc khí vô trùng

Tấm xơ dừa lọc khí phòng sơn thay cho bông thủy tinh
Ngày đăng: 10-03-2016
2,298 lượt xem

Vỏ lọc khí vô trùng đáp ứng các yêu cầu GMP, tĩnh điện, bề mặt mịn màng và thiết kế vệ sinh.

Vỏ lọc khí vô trùng tránh tối đa không gian chết.

Vỏ lọc khí vô trùng được làm bằng 100% thép không gỉ 316L chất lượng cao nhất .

- Dễ dàng để lắp đặt thiết kế, dễ dàng để làm sạch: có sẵn trong dạng kẹp (khớp nối) hoặc mặt bích.

Các ứng dụng tiêu biểu

Vỏ lọc khí vô trùng lọc khí đóng gói bao bì, đóng gói sản phẩm, lọc khí đường ống…

- Lọc khí vô trùng cho các mục đích môi trường vo trùng.

Vỏ lọc khí vô trùng lọc khí lên men.

Vỏ lọc khí vô trùng chủ yếu được sử dụng trong dược phẩm, thực phẩm và nước giải khát và lọc khí công nghiệp vi điện tử hoặc chất lỏng. 

- Ví dụ để loại bỏ gỉ trong bơm, để khử trùng chất lỏng trước khi đóng chai. 

Thông số kỹ thuật

- Áp suất thiết kế: 9.6bar (139psi) trong 30 phút.

Vỏ lọc khí vô trùng áp sử dụng tối đa: 6.0bar (87psi)

- Hoàn thiện bề mặt: đánh bóng điện, Ra≤0.2um

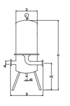
Hình ảnh

  

Cartridges

Đóng mở

 Kích thước (mm) 

Số

Chiều dài

d

Đầu vào/đầu ra

D

B

H

1

5 "

Kẹp, mặt bích

3/4 inch

Kẹp hoặc mặt bích

102

180

340

10 "

1 inch

450

20 "

1 inch

690

30 "

1 1/4 inch 

940

3

10 "

Mặt bích, bu lông

2 inch

Mặt bích

184

325

755

20 "

2,5 inch

995

5

10 "

3 inch

Mặt bích

219

380

880

20 "

4 inch

1180

 

Công ty TNHH Xây Dựng Môi Trường Đông Châu

Vui lòng gọi: 028.62702191 - lienhe@dongchau.net 

đông châu chuyên cung cấp sản phẩm lọc chính hãng & gia công

vải lọc nước công nghiệp chuyên dụng
màng lọc nước uf công nghiệp
banner trách nhiệm công ty đông châu
 

Tin liên quan

IMGROUP

Tìm